איך תשתו את הקפה שלכם?
נתן ברן, בן 22, סטודנט בשנה השלישית במחלקה לעיצוב תעשייתי בשנקר, התבקש ביחד עם חבריו לכתה לעצב מכונת קפה. הבריף בקורס – שמועבר מדי שנה על ידי ראש המחלקה, אלכס פדואה – היה פשוט: להשתמש בצורות פשוטות ולייצר את הדרמה על ידי יצירת קומפוזיציה מקורית של האלמנטים.
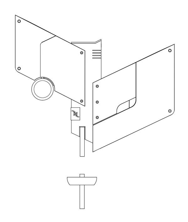
ברן – שעלה לארץ לפני ארבע וחצי שנים מפנמה – החליט לעצב מכונת קפה שתותקן על קיר, בניגוד למקובל. הוא ניצל את החופש שהתלייה העניקה לו והפריד בין שלושת החלקים העיקריים של המכונה – מיכל המים, גוף החימום והמקום לספל. התוצאה: מכונת קפה שנראית קצת כמו רובוטריק או מסכה של גיבור על עתידני, אובייקט מקורי, סקסי ונחשק, שנדמה שגם מי שהוא לא חובב מושבע של קפה, ירצה שיהיה לו אחד כזה בבית.

















